半導體

華為研發「兵權」的真正掌舵者,突然卸下海思董事長職務,茶壺裡的風暴醞釀中?



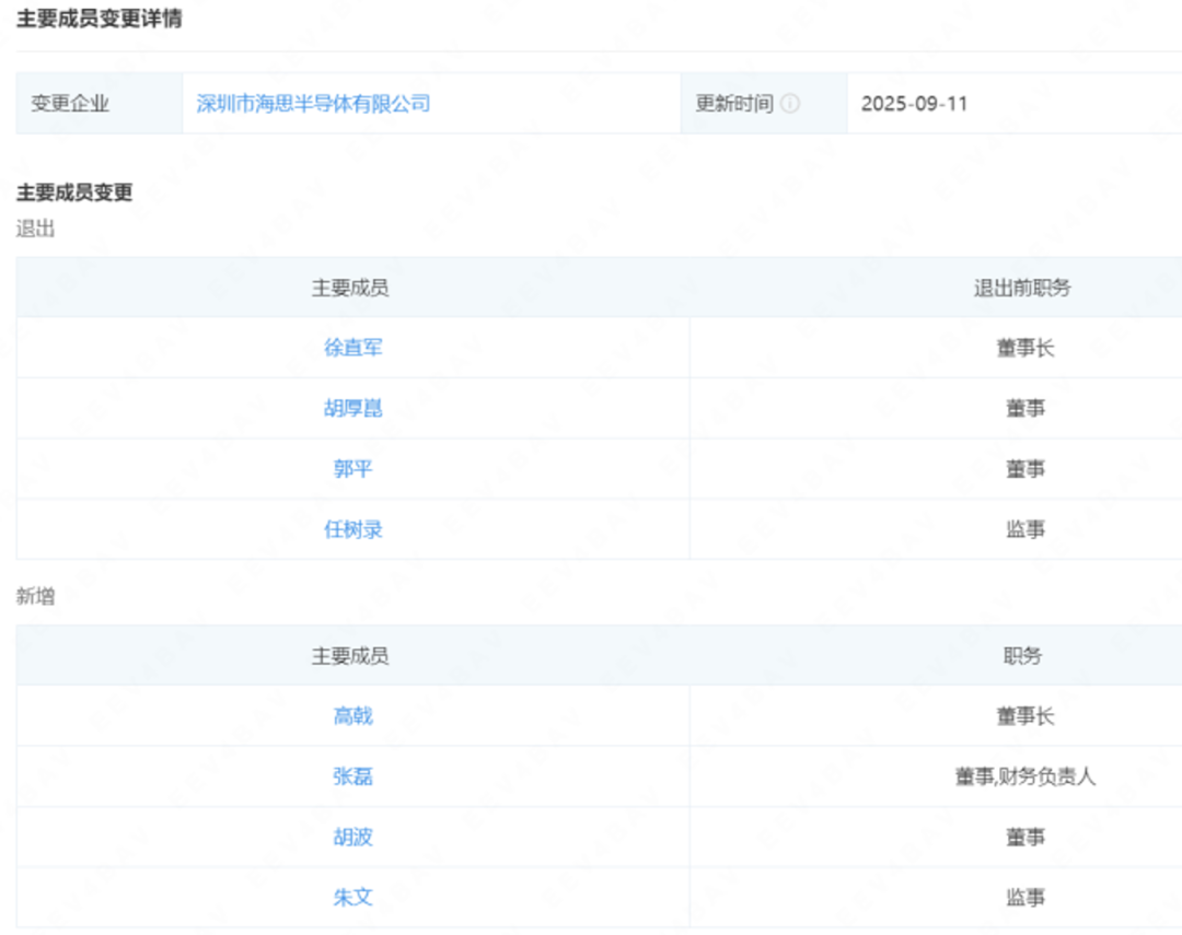
近期新浪網等中國媒體從天眼查的工商資訊變更中發現,華為旗下的海思半導體原董事長暨關鍵人物徐直軍卸任,由原本海思總經理高戟接任。不僅如此,多位華為的高階主管退出海思半導體董事會,包括華為的輪值董事長胡厚崑,以及曾經擔任華為輪值董事長的郭平等。

值得關注的是,海思半導體的老臣中,少數留任董事會的是何庭波,讓她聲名大噪且浮上檯面的事件,是2019年美國以出口管制全面封殺華為時,她對海思員工發出的信中指出,「歷史的選擇,讓我們打造的(晶片)備胎,一夜之間全部轉正!」鏗鏘有力的宣言,當時轟動全中國。

談到華為,一般人會直接聯想到任正非,或是主掌手機和電動車,有「余大嘴」之稱的余承東,不然就是無預警在加拿大溫哥華豪宅「旅居」兩年的孟晚舟,但其實華為真正的核心人物,除了任正非,就是徐直軍! 徐直軍畢業於南京理工大學,1993年加入華為。任正非曾經形容徐直軍:「這人是我浪費1000個億培養出來的,不!已經2000個億了!」

徐直軍卸下海思董事長職務,此事相當微妙。目前,徐直軍仍是華為三位輪值董事長之一(另兩位為孟晚舟和胡厚崑)。他卸任海思的實際原因不明,外界推測是職務輪調,但或許可以再觀察發展。 曾有人這樣形容華為:別以為任正非是華為最有權力的人,他是精神領袖,華為真正的「兵權」是握在管理研發的人手上,而這個人就是徐直軍。 很多業界的人看在心裡,但嘴上不說破的是:這幾年孟公主掌權,徐最大的風險是,權力太大,功高震主,大忌。

徐直軍確實掌握華為的研發兵權,能力和戰績是毫無疑問,加上任正非對華為持股僅約1%,因為華為多數股權是員工持有(登記在公司工會委員會底下),徐直軍在華為的實權不可小覷。但這幾年有一件事,徐可能會被小小「挑惕」一下,那就是傳說中,華為遍地開花的半導體晶圓廠,進度與成果似乎沒有達到預期成效。 雖然這本來就不是一件易事,但華為跨入晶圓製造背負的意義已經跳脫一般正常商業邏輯考量。

這次少數留在海思董事會的何庭波,也是海思非常關鍵的人物。她在1996年加入華為,而海思半導體是在成立於2004年成立,是華為旗下全資持有的子公司。 何庭波是海思成立時的幾位重要幹部之一,但當時她並非是最初的掌舵者。當時華為給海思的第一桶金,大概三年就燒光了,後來華為再給海思6000萬美金,由何庭波來主導,海思半導體才做起來。

初期海思的產品現是以安控、通訊晶片為主,在中國半導體圈的聲量和影響力不大。當時,台積電在中國市場最重要的IC設計客戶是展訊,大概是2013年之後,華為推出麒麟晶片替代高通,與台積電合作28奈米製程,海思整個技術實力、出貨量,以及在台積電的客戶排名才開始往前竄。

華為海思最高峰的時期,佔台積電中國區營收接近70%。當時的海思對台積電還有一個戰略性意義,因為蘋果是台積電全球最大客戶,但iPhone一年就發布一款(不看周邊產品),相當於蘋果產品線的投片、拉貨、營收挹注曲線的季節性過於明顯,而海思的產品性廣,加上產品週期與蘋果不同,剛好可以填補台積電各種製程產能在淡季時的缺口。

當華為因為被美國列入出口管制名單,台積電無法出貨之後,原本各界都以為海思在台積電中國區的生產和產能缺口,應該是沒有單一客戶可以補得上來。但時機就是這麼湊巧,遇上比特幣的時代,中國又出了比特大陸這麼一家客戶,當時比特幣價格大好,比特大陸硬生生把華為的先進製程產能(應該是5奈米)扛了起來。只能說,兩方運氣都很好,一個如期拿到業績,居然有人能吃得下華為空出來的5奈米產能,而比特大陸剛好在對的時間拿到充足晶圓,狠狠賺了一波(然後之後才可以惹出這麼多事…),當然之後幣圈價格大漲大跌,就不討論了。